Силос-Вежі

Бункер вентильований ОБВ-40

155 000 UAH
Замовити

Призначений для накопичення та тимчасової консервації зерна зі збереженням його насіннєвих та продовольчих якостей з метою забезпечення рівномірної, безперервної роботи зерноочисно-сушильних комплексів, для зимового зберігання насіння кондиційної вологості.

Зерно з вологістю перевищує 25% практично не підлягає зберіганню, а при його вологості близько 21% термін зберігання становить 3 - 4 доби. У зв'язку з цим виникла необхідність тимчасової консервації зерна до його надходження в зерносушарки. Особливо актуальна ця проблема під час зернозбирального періоду, так як завдання стоїть не тільки в зборі врожаю, але і його схоронності в максимально можливих обсягах. Для тимчасової консервації зерна, а також для забезпечення сталої та рівномірного завантаження зерносушильних комплексів використовуються вентильовані бункери.

Найбільш поширеною моделлю є вентильований бункер БВ-40. Призначений він для тимчасового накопичення та консервації зернових культур. Бункер здатний забезпечити ефективний час зберігання зерна з вологістю до 24% протягом чотирьох діб. Зерно з вологістю до 30% здатне зберігається добу за умови заповнення обсягу не більше ніж на 50% - 70% і періодичної пересипанням його з бункера в бункер.

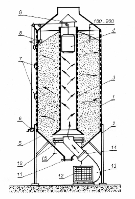
Корпус бункера циліндричний збірний, що складається з металевих листів, що поєднуються між собою і трубою за допомогою болтових з'єднань. Опорним фундаментом повітророзподільної труби і бункера служить тумба. Конструкція вентильованого бункера передбачає його спільну роботу у складі зерноочисних та сушильних комплексів зерна.

При використанні вентильованого бункера БВ-40 для сушіння зерна нагнітається повітря нагрівається за допомогою електрокалорифера на 5 - 6 градусів. Використання конвекційної сушки доцільно при необхідності прискорити сушильний процес або для активного знімання вологи з зерна, що має підвищені показники вологості. А також у разі, коли фактична вологість зернової маси не перевищує рівноважну, адже вентилювання атмосферним повітрям в цьому випадку призведе до зворотного ефекту, тобто зернівка буде насичуватися вологою. Для підвищення ефективності сушіння вентильований бункер може бути додатково укомплектований двома воздухоподогревателямі або топковим агрегатом.

Перед завантаженням буфера зерном закривають шибер, і за допомогою лебідки піднімають клапан в саме верхнє положення. Зерно, що рухається за допомогою норії, потрапляє в розподільник і заповнює простір циліндричної ємності. Після остаточного завантаження клапан опускають нижче рівня зернової маси на 15 - 20 сантиметрів, щоб виключити витік повітря повз зернового насипу. У міру підсушування та охолодження розмір зернівки зменшується, у зв'язку з цим необхідно раз на 3 - 4:00 проводити коректування положення клапана. За допомогою вентилятора відбувається нагнітання повітря, який через отвори в повітророзподільної трубі потрапляє в зернову масу і видаляє з неї надлишки вологи. Рух повітряного потоку відбувається від центру до периферії з наступним його викидом в атмосферу через перфорацію циліндра. Періодично необхідно визначати температуру і вологість зерна, для цього використовують пробовідбірник. Вологе зігріте зерно необхідно періодично пересипати знизу вгору в одному бункері або ж висипати в інший бункер.

Зерно з буфера вивантажується самопливом через шибер. Для його рівномірної вивантаження використовується регулювальне кільце з перемінним значенням кільцевого проходу. Для переміщення зерна між розвантажувальним пристроєм і прийомним модулем норії використовується шнековий механізм із регулюванням рівня нахилу і з поворотним лотком на кінці, який необхідний для розподілу потоку зерна між розвантажувальної і завантажувальної норією.

Технічні характеристики вентильованого бункера БВ-40:
  1. Тип установки: стаціонарний;
  2. Зернова місткість (по пшениці): 40 т;
  3. Встановлена ​​потужність: 66,5 кВт, з них вентилятор 11 кВт, електрокалорифер 54 кВт, шнек 1,5 кВт;
  4. Діаметр корпусу: не більше 3,1 м;
  5. Діаметр центральної труби: не менше 0,77 м;
  6. Маса: не більше 3100 кг; 7. Габаритні розміри не більше (ВхШхГ): 11х3,5х4,4 м;
  7. Питома витрата повітря на 1 тонну пшениці: не менше 400 м 3 / год;
  8. Рівень шуму на робочому місці оператора: 76 дБА;
  9. Концентрація пилу: 3 мг / м 3.

зображення

Нажаль зображень для цього обладнення ще немає :(

Пальне

Ми поставляємо паливо високої якості за низькими цінами по всій країні. Розумна економія Ваших коштів, зусиль та ресурсів більше ніж у 3.5 рази разом з нашою компанією.

Очищення

Сучасне обладнання для обробки та очищення, яке відокремлює сміття й інші домішки від зернових, бобових, круп'яних, колосових, олійних або інших культур.

Транспорт

Ми створюємо можливості для комфорту вашої компанії і піклуємося про технічне оснащення й автоматизацію теплогенераторів та зерносховищ.

1800+

клієнтів
по країні

14

років
співпраці

60% +

Загальна
економія
ваших коштів

24

години триває
установка
об'єкту

Інше обладнення

елеваторне обладнення
дешевше ніж газ на 60%

Зв`язатися з менеджеромЗамовити дзвінок
Євро
Енерго
Ресурс

Види пального

Євро Енерго Ресурс

•‎: Сухе пальне

Наші теплогенератори працюють на різних видах бюджетного пального: вугілля, дрова, лушпиння соняшнику, щепа, тирса та інше.

Наші теплогенератори працюють на різних видах бюджетного пального: вугілля, дрова, лушпиння соняшнику, щепа, тирса та інше.

•‎: Брикетне пальне

Також є можливість використати натуральні брикетні види пального для теплогенераторів, що вигідно у відповідні сезони.

Євро Енерго Ресурс
Також є можливість використати натуральні брикетні види пального для теплогенераторів, що вигідно у відповідні сезони.

Будьте в курсі знижок та спец. пропозицій від Євро Енерго Ресурс

Підписуйтесь на розсилку

Thank you! Your submission has been received!

Oops! Something went wrong while submitting the form